RL-Reihensschaltung - Übung 4
Aufgabe 14:
Zwei RC-Reihenschaltungen sind an Uges=230 V zueinander parallel geschaltet.
(Z1=29 Ω e-j46,4°, Z2=51 Ω e-j61,9°)
- Erstellen Sie eine Schaltungsskizze,
- zeichnen Sie das Zeigerdiagramm der Ströme, und
- berechnen Sie I1, I2, Iges, Zges!
- Kommawerte mit Punkt eingeben!
- Alle Werte dreistellig und gerundet eingeben!
|
|
Zur Übersicht
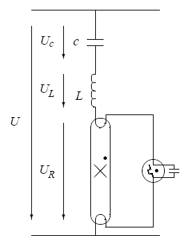
Aufgabe 15:
In der abgebildeten Hälfte einer Duo-Schaltung werden folgende Messwerte ermittelt: I = 0,42 A, UR = 125 V. Es sind außerdem folgende Größen gegeben:
c = 3,4 µF, Betriebsspannung U =230 V/50 Hz. Berechnen Sie
- die Spannung am Kondensator,
- die Spannung an der Drosselspule,
- den Gesamtwiderstand Z und
- die Induktivität der Drosselspule (Wirk-widerstand vernachlässigbar)!
- Kommawerte mit Punkt eingeben!
- Alle Werte dreistellig und gerundet eingeben!
|
 |
|
|
|